技術知識
您的位置:天太輸送機廠家 > 技術知識
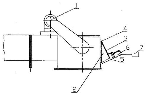
埋刮板輸送機防堵裝置技術目的及有益效果
技術領域: 本技術是一種能防止刮板輸送機輸送物料過程中發生堵料的裝置,屬輸送機械技術領域。 本技術的目的是提供一種埋刮板輸送機防堵裝置,當輸送機出現下料不暢如堵料等情況時能停止輸送機工作或停止前道供料機構供料,這樣就能及時排除故障并避免損壞設備及減少物料損失。 目前,埋刮板輸送機在多種行業中應用十分廣泛,主要機構是由刮板輸送機機頭(主動輪)、刮板輸送機機尾(從動輪)、刮板鏈條、機筒、張緊裝置和電機減速器等機構組成。刮板輸送機在輸送物料過程中,會由于機頭出料口堵塞或下道輸出(生產)設備產量小等原因,導致刮板輸送機機頭堵料,掀開機頭蓋板或機筒蓋板,造成設備損壞。目前,公知的解決方法是在機頭蓋板上制作一防堵口,發生堵料時,物料從機頭蓋板上沖出,但該方法會造成機頭部分結構加大、物料損失嚴重、不能及時排除故障以及損壞設備。 本技術的目的是這樣實現的刮板輸送機由刮板輸送機機頭(1)、刮板輸送機機尾、刮板鏈條、機筒、張緊裝置和電機減速器等機構組成,其特征是在刮板輸送機頭1端部設置一防堵口2,防堵口上蓋一蓋板3,防堵口設計成上小下大的三角形,這樣蓋板便成傾斜式蓋在防堵口上,蓋板上部由絞鏈4活動連接在防堵口的上部,在機頭1端部下部固接一限位開關支撐板5,支撐板上裝有一限位開關6,限位開關和電氣聯鎖裝置7相連接,蓋板3下部外側面緊靠限位開關6的觸頭。當輸送機下料不暢時,如發生堵料等情況,物料會沖開防堵口上的蓋板,蓋板推動限位開關并把信號傳給電氣聯鎖裝置,聯鎖裝置就會停止輸送機工作或停止前道供料機構供料,這樣就能及時排除故障、避免設備損壞及減少物料浪費。 本技術的有益效果為當輸送機出現下料不暢如堵料情況時,能及時停止輸送機工作或停止向輸送機供料,這樣就可采取措施及時排除故障,避免設備損壞及更多的物料浪費。 以下結合附圖和實施例對本技術作進一步說明。 附圖中各部位序號標注如下1、機頭;2、防堵口;3、蓋板;4、絞鏈;5、限位開關支撐板;6、限位開關;7、電氣聯鎖裝置。 如圖1、2所示,在埋刮板輸送機機頭1端部設置一防堵口2,防堵口上蓋一蓋板3,該蓋板上部由絞鏈4活動連接在防堵口2的上部,防堵口為上小下大的三角形形狀,這樣蓋板呈傾斜式蓋在防堵口上,在機頭端部下部固接一限位開關支撐板5,支撐板上裝有一限位開關6,限位開關和電氣聯鎖裝置7相連接。蓋板下部外側面緊靠限位開關的觸頭。 實用要求 1.一種埋刮板輸送機防堵裝置,該刮板輸送機由刮板輸送機頭(1)、刮板輸送機機尾、刮板鏈條、機筒、張緊裝置和電機減速器等機構組成,其特征是在刮板輸送機機頭(1)端部設置一防堵口(2),防堵口上蓋一蓋板(3),其蓋板上部由絞龍鏈(4)活動連接在防堵口(2)的上部,在機頭端部下部固接一限位開關支撐板(5),支撐板上裝有一限位開關(6),限位開關和電氣聯鎖裝置(7)相連接。 2.根據實用要求1所述的防堵裝置,其特征是防堵口(2)做成上小下大的三角形形狀,蓋板(3)亦成傾斜式蓋在防堵口(2)上。 3.根據實用要求1所述的防堵裝置,其特征是蓋板(3)下部外側面緊靠限位開關(5)的觸頭。 技術摘要 一種埋刮板輸送機防堵裝置,是在輸送機機頭1端部設置一防堵口2,防堵口上由絞鏈4活動連接一蓋板3,在機頭端部下部固接一裝有限位開關6的限位開關支撐板5,限位開關的觸頭緊靠蓋板,限位開關和電氣聯鎖裝置7相連接。當機頭出料口下料不暢時,物料會沖開蓋板頂到限位開關,并把信號反應到電氣聯鎖裝置。電氣聯鎖裝置會停止輸送工作或停止供料,這樣就能及時排除故障,并避免損壞設備,減少物料損失。






