公司新聞
您的位置:天太輸送機廠家 > 公司新聞
污泥刮板輸送機技術內容及制作要求
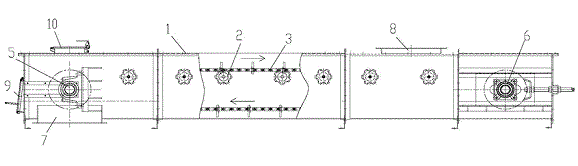
背景技術: 本技術涉及一種應用于污泥處理系統中的刮板輸送機,具體為一種污泥刮板輸送機。目前在污泥處理系統的污泥輸送過程中,需要刮板輸送機,將需要處理的污泥輸送到螺旋輸送機的進料口,現有的用于輸送的刮板輸送機一般采取半封閉結構,上部為敞開結構,在輸送的過程中,污泥容易造成堆積和散落,對于環境保護造成污染。并且目前的刮板輸送機的刮板均采用平面式單片設計,輸送過程中一旦物料的重量過重,往往會使刮板變形,對設備造成不利影響,影響輸送機的輸送功能和工作效率。 因此,需要設計一種新的刮板輸送機,提高密封性能和刮板強度,增加輸送能力,提高輸送機的工作效率。 技術內容 本技術所要解決的技術問題是針對上述存在的技術不足,提供一種能夠提高密封性能和刮板強度,增加輸送能力,提高輸送機的工作效率的污泥刮板輸送機。本技術解決其技術問題所采用的技術方案是污泥刮板輸送機,包括有機頭傳動裝置、溜槽、機尾,其特征在于所述的溜槽為垂直結構,機頭傳動裝置安裝在溜槽頂部,機尾安裝在溜槽底部,三者之間為密封結構,所述的溜槽中間安裝有可傳送的刮板鏈,刮板鏈上等距離設置有刮板,其中所述的刮板為L型結構,其短邊與刮板鏈固定連接,其長邊內側與短邊彎角處設置有加強筋,長邊外側為平面,刮板在向上輸送的行程段保持平面朝上。在上述方案中,所述的機頭傳動裝置包括有電機、減速器,減速器的輸出軸安裝有鏈輪,用于傳動刮板鏈。在上述方案中,所述的刮板為矩形刮板,刮板與刮板鏈之間采用螺栓緊固。在上述方案中,所述的機尾與溜槽連接處,還設有進料斗。在上述方案中,所述的機頭傳動裝置處還設置有開口向下的出料口。在上述方案中,所述的機頭傳動裝置處的外売上,還設置有溫度測點。本技術裝置將機頭傳動裝置,溜槽,機尾作為一個密封整體,并在刮板上增設加強筋,在污泥傳送過程中避免了泄漏,并提高了輸送效率。本技術的有益效果是提高了密封性能和刮板強度,増加了輸送能力,提高輸送機的工作效率。 圖I是本技術實施例的主視圖圖2是圖I的內部刮板放大圖圖3是圖I的A-A方向視圖[0018]圖中1機頭傳動裝置2.溜槽3.機尾4.刮板鏈5.刮板6.鏈輪7.進料斗8.出料口 9.溫度測點。 具體實施方式 下面結合具體實施方式,對本技術作進一步的說明如圖I圖2圖3所示的污泥刮板輸送機,包括有機頭傳動裝置I、溜槽2、機尾3,其中所述的機頭傳動裝置I安裝在溜槽2頂部,機尾3安裝在溜槽2底部,溜槽2為垂直結構,三者之間為密封結構,所述的溜槽2中間安裝有可傳送的刮板鏈4,刮板鏈4上等距離設置有刮板5,其中所述的刮板5為L型結構,其短邊與刮板鏈4固定連接,其長邊內側與短邊彎角處設置有加強筋,長邊外側為平面,刮板5在向上輸送的行程段保持平面朝上。在本實施例中,所述的機頭傳動裝置I包括有電機、減速器,減速器的輸出軸安裝 有鏈輪6,用于傳動刮板鏈4。在本實施例中,所述的刮板5為矩形刮板,刮板5與刮板鏈4之間采用螺栓緊固。在本實施例中,所述的機尾3機頭傳動裝置I與溜槽2連接處,還設有進料斗7。在本實施例中,所述的機頭傳動裝置I處還設置有開口向下的出料口 8。在本實施例中,所述的機頭傳動裝置I處的外売上,還設置有溫度測點9。 實用要求 1.污泥刮板輸送機,包括有機頭傳動裝置、溜槽、機尾,其特征在于所述的溜槽為垂直結構,機頭傳動裝置安裝在溜槽頂部,機尾安裝在溜槽底部,三者之間為密封結構,所述的溜槽中間安裝有可傳送的刮板鏈,刮板鏈上等距離設置有刮板,其中所述的刮板為L型結構,其短邊與刮板鏈固定連接,其長邊內側與短邊彎角處設置有加強筋,長邊外側為平面,刮板在向上輸送的行程段保持平面朝上。 2.如實用要求I所述的污泥刮板輸送機,其特征在于所述的機頭傳動裝置包括有電機、減速器,減速器的輸出軸安裝有用于傳動刮板鏈的鏈輪。 3.如實用要求I所述的污泥刮板輸送機,其特征在于所述的刮板為矩形刮板,刮板與刮板鏈之間采用螺栓緊固。 4.如實用要求I所述的污泥刮板輸送機,其特征在于所述的機尾與溜槽連接處,還設有進料斗。 5.如實用要求I或2所述的污泥刮板輸送機,其特征在于所述的機頭傳動裝置處還設置有開口向下的出料口。 6.如實用要求5所述的污泥刮板輸送機,其特征在于所述的機頭傳動裝置處的外殼上,還設置有溫度測點。 技術摘要 本技術提供一種能夠提高密封性能和刮板強度,增加輸送能力,提高輸送機的工作效率的污泥刮板輸送機。包括有機頭傳動裝置、溜槽、機尾,其中所述的溜槽為垂直結構,機頭傳動裝置安裝在溜槽頂部,機尾安裝在溜槽底部,三者之間為密封結構,所述的溜槽中間安裝有可傳送的刮板鏈,刮板鏈上等距離設置有刮板,其中所述的刮板為L型結構,其短邊與刮板鏈固定連接,其長邊內側與短邊彎角處設置有加強筋,長邊外側為平面,刮板在向上輸送的行程段保持平面朝上。本技術裝置提高了密封性能和刮板強度,增加了輸送能力,提高輸送機的工作效率。






