技術知識
您的位置:天太輸送機廠家 > 技術知識
螺旋輸送機快拆卸吊軸承連接裝置技術要素
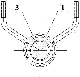
背景技術: 本技術涉及螺旋輸送機技術領域,特別是涉及一種螺旋輸送機快拆卸吊軸承連接裝置。螺旋輸送機快拆卸吊軸承連接裝置適用于輕工、化工、食品等行業,用于輸送距離長的、需要用一個或多個吊軸承連接螺旋軸的螺旋輸送機。常規螺旋輸送機的吊軸承中的吊軸是用螺栓、鍵或花鍵連接一個或多個螺旋軸,在拆洗吊軸承或更換吊軸承中的軸承時,需要從尾部拆掉尾部軸承、墻板,抽出一個或多個螺旋軸和吊軸,再清洗吊軸承或更換吊軸承中的軸承,然后依次裝上,整個拆裝過程費事費力。特別是在安裝場地較緊湊,而不得不取消或減少吊軸承的使用時,需要加大較長螺旋軸管的直徑,使較長螺旋軸管的擾度在控制范圍內,這樣就加大了用戶的設備成本和使用成本。 技術實現要素: 本技術主要解決的技術問題是提供一種螺旋輸送機快拆卸吊軸承連接裝置,保證吊軸承的拆裝快速方便,能夠解決常規螺旋輸送機拆卸清洗吊軸承比較困難的狀況,同時解決了由于安裝場地而不得不取消或減少吊軸承的使用時,加大較長螺旋軸管直徑的問題。 為解決上述技術問題,本技術采用的一個技術方案是:提供一種螺旋輸送機快拆卸吊軸承連接裝置,包括:吊軸、吊軸承組件和連接件,吊軸承組件固定支撐吊軸,連接件安裝在吊軸的左右兩端,吊軸穿過吊軸承組件中的軸承,吊軸的兩端夾在連接件上,通過緊固方式固定連接件來實現對吊軸的壓緊。 在本技術一個較佳實施例中,吊軸承組件兩側安裝有螺旋管,螺旋管繞著吊軸的軸向進行轉動。 在本技術一個較佳實施例中,連接件包括連接件固定塊、連接件壓塊和緊固螺釘,連接件固定塊焊接在螺旋管上,連接件壓塊通過緊固螺釘鎖緊在連接件固定塊上。 在本技術一個較佳實施例中,連接件通過緊固螺釘緊固連接件壓塊來實現壓緊吊軸。 在本技術一個較佳實施例中,緊固螺釘與連接件壓塊之間為可拆卸式連接。 在本技術一個較佳實施例中,吊軸承組件包括吊軸承座、軸承、密封結構和壓蓋,吊軸的外周安裝有軸承和軸承座,軸承的外壁上設有密封結構,軸承外圈還安裝有壓蓋實現軸向定位。 在本技術一個較佳實施例中,軸承為滾動軸承或滑動軸承。 有益效果: 本技術螺旋輸送機快拆卸吊軸承連接裝置保證吊軸承的拆裝快速方便,解決了常規螺旋輸送機拆卸清洗吊軸承比較困難的狀況,同時解決了由于安裝場地而不得不取消或減少吊軸承的使用時,加大較長螺旋軸管直徑的問題。 附圖說明 為了更清楚地說明本技術實施例中的技術方案,下面將對實施例描述中所需要使用的附圖作簡單地介紹,顯而易見地,下面描述中的附圖僅僅是本技術的一些實施例,對于本領域普通技術人員來講,在不付出創造性勞動的前提下,還可以根據這些附圖獲得其它的附圖,其中: 圖1是本技術的螺旋輸送機快拆卸吊軸承連接裝置一較佳實施例的結構示意圖; 圖2是圖1的A-A向視圖; 附圖中各部件的標記如下:1、連接件,2、吊軸承組件,3、吊軸,4、緊固螺釘,5、連接件壓塊,6、連接件固定塊,7、螺旋管。 具體實施方式: 下面將對本技術實施例中的技術方案進行清楚、完整地描述,顯然,所描述的實施例僅是本技術的一部分實施例,而不是全部的實施例。基于本技術中的實施例,本領域普通技術人員在沒有做出創造性勞動前提下所獲得的所有其它實施例,都屬于本技術保護的范圍。 請參閱圖1至圖4,本技術實施例包括: 一種螺旋輸送機快拆卸吊軸承連接裝置,包括:吊軸3、吊軸承組件2和連接件1,吊軸承組件2兩側安裝有螺旋管7,螺旋管7繞著吊軸3的軸向進行轉動,吊軸承組件2用來固定支撐吊軸3,連接件1安裝在吊軸3的左右兩端。 吊軸3穿過吊軸承組件2中的軸承,吊軸3的兩端夾在連接件1上,通過緊固方式固定連接件1來實現對吊軸3的壓緊。 具體地,連接件1包括連接件固定塊6、連接件壓塊5和緊固螺釘4,連接件固定塊6焊接在螺旋管7上,連接件壓塊5通過緊固螺釘4鎖緊在連接件固定塊6上,連接件1通過緊固螺釘4緊固連接件壓塊5來實現壓緊吊軸3。 緊固螺釘4與連接件壓塊5之間為可拆卸式連接,在拆卸時只需拆下緊固螺釘4,取掉連接件壓塊5,就可快速拆卸清洗更換吊軸承組件2中的軸承。 這樣一來,解決了常規螺旋輸送機拆卸清洗吊軸承比較困難的狀況,同時解決了由于安裝場地而不得不取消或減少吊軸承的使用時,加大較長螺旋軸管直徑的問題。 吊軸承組件2包括吊軸承座、軸承、密封結構和壓蓋,吊軸3的外周安裝有軸承和軸承座,可以減少吊軸的摩擦力。 在軸承的外壁上設有密封結構,軸承外圈還安裝有壓蓋實現軸向定位,其中軸承為滾動軸承或滑動軸承,可以節約成本,方便更換。 本技術螺旋輸送機快拆卸吊軸承連接裝置的有益效果是: 吊軸承的拆裝快速方便,解決了常規螺旋輸送機拆卸清洗吊軸承比較困難的狀況,同時解決了由于安裝場地而不得不取消或減少吊軸承的使用時,加大較長螺旋軸管直徑的問題。 以上所述僅為本技術的實施例,并非因此限制本技術的專利范圍,凡是利用本技術說明書內容所作的等效結構或等效流程變換,或直接或間接運用在其它相關的技術領域,均同理包括在本技術的專利保護范圍內。 技術特征: 1.一種螺旋輸送機快拆卸吊軸承連接裝置,其特征在于,包括:吊軸、吊軸承組件和連接件,吊軸承組件固定支撐吊軸,連接件安裝在吊軸的左右兩端,吊軸穿過吊軸承組件中的軸承,吊軸的兩端夾在連接件上,通過緊固方式固定連接件來實現對吊軸的壓緊。 2.根據實用要求1所述的螺旋輸送機快拆卸吊軸承連接裝置,其特征在于,吊軸承組件兩側安裝有螺旋管,螺旋管繞著吊軸的軸向進行轉動。 3.根據實用要求2所述的螺旋輸送機快拆卸吊軸承連接裝置,其特征在于,連接件包括連接件固定塊、連接件壓塊和緊固螺釘,連接件固定塊焊接在螺旋管上,連接件壓塊通過緊固螺釘鎖緊在連接件固定塊上。 4.根據實用要求3所述的螺旋輸送機快拆卸吊軸承連接裝置,其特征在于,連接件通過緊固螺釘緊固連接件壓塊來實現壓緊吊軸。 5.根據實用要求3所述的螺旋輸送機快拆卸吊軸承連接裝置,其特征在于,緊固螺釘與連接件壓塊之間為可拆卸式連接。 6.根據實用要求1所述的螺旋輸送機快拆卸吊軸承連接裝置,其特征在于,吊軸承組件包括吊軸承座、軸承、密封結構和壓蓋,吊軸的外周安裝有軸承和軸承座,軸承的外壁上設有密封結構,軸承外圈還安裝有壓蓋實現軸向定位。 7.根據實用要求6所述的螺旋輸送機快拆卸吊軸承連接裝置,其特征在于,軸承為滾動軸承或滑動軸承。 技術總結 本技術公開了一種螺旋輸送機快拆卸吊軸承連接裝置,包括:吊軸、吊軸承組件和連接件,吊軸承組件固定支撐吊軸,連接件安裝在吊軸的左右兩端,吊軸穿過吊軸承組件中的軸承,吊軸的兩端夾在連接件上,通過緊固方式固定連接件來實現對吊軸的壓緊。通過上述方式,本技術螺旋輸送機快拆卸吊軸承連接裝置保證了吊軸承的拆裝快速方便,能夠解決常規螺旋輸送機拆卸清洗吊軸承比較困難的狀況,同時解決了由于安裝場地而不得不取消或減少吊軸承的使用時,加大較長螺旋軸管直徑的問題。







