行業信息
您的位置:天太輸送機廠家 > 行業信息
螺旋輸送機固定裝置技術要求及特征
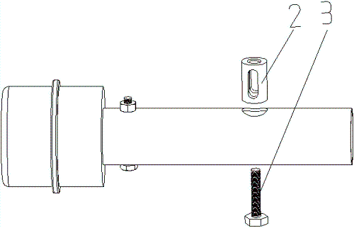
背景技術:本技術屬于輸送機技術領域,具體涉及一種螺旋輸送機固定裝置。目前市場流行的螺旋輸送機固定方式大多采用U型卡固定,這種方式固定不牢固,絞龍運轉時容易移位,另外U型卡拆卸幾次或者預緊力過大時會造成滑絲,影響客戶的使用和維修。 技術實現要素: 本技術在于提供一種螺旋輸送機固定裝置,以便根據需要改善使用效果,更好地實現絞龍的安裝和固定,改善其使用效果。 了實現上述目的,本技術的技術方案如下。 一種螺旋輸送機固定裝置,包括軸、鎖緊扣、螺栓和絞龍,軸安裝有絞龍;絞龍與軸的連接處設有鎖緊扣,鎖緊扣的下部設有螺栓;鎖緊扣上設有穿孔便于絞龍穿過后利用下部螺栓固定。 上述裝置中,將軸旋轉,絞龍從鎖緊扣穿過一個螺距后,用扳手禁錮螺栓,絞龍即和軸固定在一起,便于針對空心絞龍的鎖緊。 該技術的有益效果在于:該技術裝置中,螺旋輸送機一端與電機軸連接,另一端則需要和一根轉動軸連接,兩端都需要將絞龍和軸固定在一起,電機運轉時可以帶動末端軸一起轉動。本裝置通過改進絞龍的固定方式,安裝簡單,鎖緊牢固,而且可以反復使用。 附圖說明 圖中標記說明:1、軸;2、鎖緊扣;3、螺栓;4、螺旋輸送機。 具體實施方式 下面結合附圖對本技術的具體實施方式進行描述,以便更好的理解本技術。 如圖1、圖2所示的螺旋輸送機固定裝置,包括軸1、鎖緊扣2、螺栓3和螺旋輸送機4,軸1安裝有絞龍4;絞龍4與軸1的連接處設有鎖緊扣2,鎖緊扣2的下部設有螺栓3;鎖緊扣 2上部設有穿孔便于絞龍4穿過后利用下部螺栓3固定。鎖緊扣2兩端都帶有內絲,使用時不分正反。上述裝置中,將軸1旋轉,絞龍4從鎖緊扣2穿過一個螺距后,用扳手緊固螺栓3,絞龍4即和軸1固定在一起,便于針對空心絞龍的鎖緊。 以上所述是本技術的優選實施方式,應當指出,對于本技術領域的普通技術人員來說,在不脫離本技術原理的前提下,還可以做出若干改進和潤飾,這些改進和潤飾也視為本技術的保護范圍。 技術特征: 1.一種螺旋輸送機固定裝置,其特征在于:包括軸、鎖緊扣、螺栓和絞龍,所述軸上安裝有絞龍;所述絞龍與軸的連接處設有鎖緊扣,所述鎖緊扣的下部設有螺栓;所述鎖緊扣上部設有穿孔便于絞龍穿過后利用下部螺栓固定。 技術總結 本技術涉及一種螺旋輸送機固定裝置,包括軸、鎖緊扣、螺栓和螺旋輸送機,軸上安裝有絞龍;螺旋輸送機與軸的連接處設有鎖緊扣,鎖緊扣的下部設有螺栓;鎖緊扣上部設有穿孔便于絞龍穿過后利用下部螺栓固定。上述裝置中,將軸旋轉引入絞龍后,用扳手禁錮螺栓,絞龍即和軸固定在一起,便于針對空心絞龍的鎖緊。該技術裝置中,絞龍一端與電機軸連接,另一端則需要和一根轉動軸連接,兩端都需要將螺旋輸送機和軸固定在一起,電機運轉時可以帶動末端軸一起轉動。本裝置通過改進絞龍的固定方式,安裝簡單,鎖緊牢固,而且可以反復使用。






