行業信息
您的位置:天太輸送機廠家 > 行業信息
防堵塞陶粒生產移動式螺旋輸送機生產技術
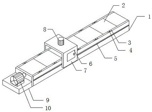
背景技術: 本技術涉及螺旋輸送機,特別涉及一種防堵塞陶粒生產移動式螺旋輸送機,屬于陶粒生產技術領域。在陶粒的生產制備中,需要使用螺旋輸送機對陶粒進行運輸,但現有的螺旋輸送機在輸送陶粒時常常發生堵塞,維修困難,同時耽誤生產的效率。 技術實現要素: 本技術提供一種防堵塞陶粒生產移動式螺旋輸送機,以解決上述背景技術中提出的現有的螺旋輸送機在輸送陶粒時常常發生堵塞,維修困難,同時耽誤生產的效率的問題。 為實現上述目的,本技術提供如下技術方案:一種防堵塞陶粒生產移動式螺旋輸送機,包括架體,所述架體的兩側均開設有滑槽,兩個所述滑槽的內部均滑動連接有小滑塊,且兩個所述小滑塊的一側均與殼體內壁的兩側固定連接,所述殼體的頂端固定安裝有風機,所述殼體的一側固定安裝有加熱箱,所述加熱箱的內部固定安裝有加熱片,所述殼體內的頂部固定安裝有出風嘴,所述架體一端固定安裝有支撐板,所述支撐板的頂端固定安裝有電機,所述電機的輸出端與架體內部的內桿固定連接,所述內桿的外部固定套接有螺旋葉,所述架體的頂部固定安裝有蓋板,所述蓋板的底端固定安裝有兩個支板,兩個所述支板的一側均固定安裝有彈簧,兩個所述彈簧的一端均固定安裝有刮板。 與現有技術相比,本技術的有益效果是:本技術一種防堵塞陶粒生產移動式螺旋輸送機,架體頂部設有透明蓋板,可隨時觀察陶粒狀態,且蓋板底端設置刮板,可有效對螺旋葉進行清潔,同時設有可滑動的殼體,殼體帶有風機和出風嘴,可對堵塞的區域進行及時處理。 附圖說明 圖中:1、架體;2、蓋板;3、固定塊;4、固定螺桿;5、滑槽;6、視窗;7、殼體;8、風機;9、支撐板;10、電機;11、出風嘴;12、加熱箱;13、螺旋葉;14、內桿;15、支板;16、彈簧;17、刮板。 具體實施方式 本技術提供了一種防堵塞陶粒生產移動式螺旋輸送機,包括架體1,架體1的兩側均開設有滑槽5,兩個滑槽5的內部均滑動連接有小滑塊,且兩個小滑塊的一側均與殼體7內壁的兩側固定連接,殼體7的頂端固定安裝有風機8,殼體7的一側固定安裝有加熱箱12,加熱箱12的內部固定安裝有加熱片,殼體7內的頂部固定安裝有出風嘴11,架體1一端固定安裝有支撐板9,支撐板9的頂端固定安裝有電機10,電機10的輸出端與架體1內部的內桿14固定連接,內桿14的外部固定套接有螺旋葉13,架體1的頂部固定安裝有蓋板2,蓋板2的底端固定安裝有兩個支板15,兩個支板15的一側均固定安裝有彈簧16,兩個彈簧16的一端均固定安裝有刮板17。 優選的,蓋板2的兩側均固定安裝有固定塊3,且兩個固定塊3的內部均螺紋連接有固定螺桿4,通過固定塊3對蓋板2進行固定。 優選的,風機8的出風口通過第一管道與加熱箱12相通,加熱箱12的底端通過第二管道與出風嘴11相通,風機8的風通過第一管道進入到加熱箱12。 優選的,架體1的一側固定安裝有開關面板,開關面板的表面固定安裝有第一開關、第二開關和第三開關,電機10通過第一開關與外接電源電性連接,風機8通過第二開關與外接電源電性連接,加熱片通過第三開關與外接電源電性連接。 優選的,蓋板2為透明塑膠板,殼體7的一側固定安裝有視窗6,透明的蓋板2便于觀察架體1內部陶粒的狀態。 具體使用時,本技術一種防堵塞陶粒生產移動式螺旋輸送機,將架體1的一端加入陶粒,啟動電機10,電機10帶動螺旋葉13轉動,螺旋葉13轉動的同時帶動架體1一端的陶粒向前運動,且從架體1另一端開設有的出口排出,同時在螺旋葉13轉動時,螺旋葉13將置于兩個刮板17之間,刮板17將螺旋葉13上的陶粒進行清理,防止過多的陶粒堆積在螺旋葉13上造成堵塞,當內部的陶粒濕度過大發生堵塞時,將堵塞端的蓋板2打開,并且將殼體7滑動到該出,啟動加熱片和風機8,經過加熱箱12加熱后的熱風通過出風嘴11排向架體的堵塞處,對堵塞處進行風干,方便進一步清理堵塞。 技術特征: 1.一種防堵塞陶粒生產移動式螺旋輸送機,包括架體(1),其特征在于,所述架體(1)的兩側均開設有滑槽(5),兩個所述滑槽(5)的內部均滑動連接有小滑塊,且兩個所述小滑塊的一側均與殼體(7)內壁的兩側固定連接,所述殼體(7)的頂端固定安裝有風機(8),所述殼體(7)的一側固定安裝有加熱箱(12),所述加熱箱(12)的內部固定安裝有加熱片,所述殼體(7)內的頂部固定安裝有出風嘴(11),所述架體(1)一端固定安裝有支撐板(9),所述支撐板(9)的頂端固定安裝有電機(10),所述電機(10)的輸出端與架體(1)內部的內桿(14)固定連接,所述內桿(14)的外部固定套接有螺旋葉(13),所述架體(1)的頂部固定安裝有蓋板(2),所述蓋板(2)的底端固定安裝有兩個支板(15),兩個所述支板(15)的一側均固定安裝有彈簧(16),兩個所述彈簧(16)的一端均固定安裝有刮板(17)。 2.根據實用要求1所述的一種防堵塞陶粒生產移動式螺旋輸送機,其特征在于:所述蓋板(2)的兩側均固定安裝有固定塊(3),且兩個所述固定塊(3)的內部均螺紋連接有固定螺桿(4)。 3.根據實用要求1所述的一種防堵塞陶粒生產移動式螺旋輸送機,其特征在于:所述風機(8)的出風口通過第一管道與加熱箱(12)相通,所述加熱箱(12)的底端通過第二管道與出風嘴(11)相通。 4.根據實用要求1所述的一種防堵塞陶粒生產移動式螺旋輸送機,其特征在于:所述架體(1)的一側固定安裝有開關面板,所述開關面板的表面固定安裝有第一開關、第二開關和第三開關,所述電機(10)通過第一開關與外接電源電性連接,所述風機(8)通過第二開關與外接電源電性連接,所述加熱片通過第三開關與外接電源電性連接。 5.根據實用要求1所述的一種防堵塞陶粒生產移動式螺旋輸送機,其特征在于:所述蓋板(2)為透明塑膠板,所述殼體(7)的一側固定安裝有視窗(6)。 技術總結 本技術公開了一種防堵塞陶粒生產移動式螺旋輸送機,包括架體,架體的兩側均開設有滑槽,殼體的頂端固定安裝有風機,殼體的一側固定安裝有加熱箱,加熱箱的內部固定安裝有加熱片,殼體內的頂部固定安裝有出風嘴,蓋板的底端固定安裝有兩個支板,兩個支板的一側均固定安裝有彈簧,兩個彈簧的一端均固定安裝有刮板,本技術一種防堵塞陶粒生產移動式螺旋輸送機,架體頂部設有透明蓋板,可隨時觀察陶粒狀態,且蓋板底端設置刮板,可有效對螺旋葉進行清潔,同時設有可滑動的殼體,殼體帶有風機和出風嘴,可對堵塞的區域進行及時處理。






