行業信息
您的位置:天太輸送機廠家 > 行業信息
礦井刮板輸送機推移裝置技術原理及特征
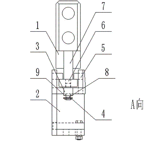
背景技術: 本技術涉及一種礦井刮板輸送機推移裝置,屬煤礦井下運輸設備的零部件的技術領域。在煤礦井下的采掘現場,刮板輸送機的機頭部和機尾部推移裝置與機頭尾液壓支架聯接,液壓支架通過底座推移油缸推動或拉移推移部,進而推或拉動刮板輸送機的機頭部和機尾部,起到刮板輸送機前進的作用。 現在使用的一部分推移裝置因實際工況的需要放置在機頭、尾傳動裝置下方,而機頭尾推移點有時需要根據實際的采煤工況移動推移點的位置,由于推移點位于傳動裝置下方,受到空間的限制,定位銷無法垂直拔出,無法拆卸推移座,必須先拆卸傳動裝置,再移動推移點的位置,但傳動裝置重量大拆卸不方便,影響生產效率。 技術實現要素: 本技術的目的就是針對現有技術的不足,設計一種新的礦井刮板輸送機推移裝置,其推移座可以在推移橫梁上水平移動,推移橫梁上按一定距離加工一排水平定位孔,并由水平銷固定,實際工況中需要改變推移點的位置,只需將推移座水平移動到所需位置,利用水平銷將其固定,再利用簡易限位銷限制水平銷的移動。這就能在不拆卸傳動裝置的前提下,利用傳動裝置下有限的空間,達到移動推移點的目的,整個拆裝過程簡單快捷。 本技術采用的技術方案為: 一種礦井刮板輸送機推移裝置,包括推移橫梁、拉移座和定位銷組件,所述推移橫梁上設置有水平導軌,所述拉移座上設置有卡槽,所述水平導軌和卡槽配合使拉移座能夠沿水平導軌滑動; 所述定位銷組件包括水平定位銷、水平定位銷孔、拉移座定位銷和定位板;其中:水平定位銷孔有多個,均開設在水平導軌下端面;每個拉移座的兩個側耳下端分別設置有一個豎直向下的拉移座定位銷;所述水平定位銷與定位板固定連接,定位板上開設有孔,定位板通過該孔與拉移座定位銷連接的同時,水平定位銷能夠插入水平定位銷孔中;所述定位銷組件還包括用于防止水平定位銷脫落的限位件。 即每個拉移座通過兩個水平定位銷對其橫向移動進行限制。而水平定位銷與水平定位銷孔的配合以及定位板上的孔與拉移座定位銷的配合,都是豎直方向的,因此需要設置限位件,以防止水平定位銷脫落。設計形式可以有多種,如安裝水平定位銷后在拉移座定位銷的自由端設置限位銷,擋住定位板,利用定位板與水平定位銷的固定連接,防止水平定位銷脫落。或者在水平定位銷孔側面開孔,在水平定位銷相應位置開孔,通過插入定位銷的方式防止水平定位銷脫落。同時限位件的設置應當滿足易拆卸的條件,方便對拉移座的位置進行調整。 進一步的,所述水平導軌為橫斷面倒T形的長導軌,所述水平導軌與推移橫梁固定連接,如焊接;所述卡槽固定設置在拉移座的上端,如焊接。 本技術具有如下有益效果: 本技術與背景技術相比具有明顯的先進性,它不僅可以把機頭尾的卸載高度降低,減少刮板輸送機自身的功率損耗;而且在不拆卸傳動裝置的情況下,在傳動裝置下可以水平移動推移點的位置,并實現了銷軸的簡單快速定位及限位,提高了采煤過程中更換機頭尾推移點的效率。 附圖說明 圖中所示,1、推移橫梁,2、拉移座,3水平定位銷,4、簡易限位銷,5、卡槽,6、水平定位銷孔,7、水平導軌 ,8拉移座定位銷,9、定位板。 具體實施方式 下面的實施例可以使本領域技術人員更全面地理解本技術,但不以任何方式限制本技術。以下結合附圖對本技術做進一步說明: 如圖1-3所示,一種刮板輸送機推移裝置,包括推移橫梁1、拉移座2和定位銷組件,所述推移橫梁1上設置有水平導軌7,所述拉移座2上設置有卡槽5,所述水平導軌7和卡槽5配合使拉移座2能夠沿水平導軌7滑動; 所述定位銷組件包括水平定位銷3、簡易限位銷4、水平定位銷孔6、拉移座定位銷8和定位板9;其中:水平定位銷孔6有多個,均開設在水平導軌7下端面;每個拉移座2的兩個側耳下端分別設置有一個豎直向下的拉移座定位銷8;所述水平定位銷3與定位板9固定連接,定位板9上開設有孔,定位板9通過該孔與拉移座定位銷8連接的同時,水平定位銷3能夠插入水平定位銷孔6中;每個拉移座定位銷8下端還設置有可移除的簡易限位銷4。 圖4所示,為推移裝置推移點移動原理圖,拉移座2在推移橫梁1的水平導軌7上自左向右水平移動,虛線所示的拉移座2為移動前位置,實線所示的拉移座2為移動后位置。相應的自右向左水平移動也是可以的。 移動拉移座2時,首先將兩個簡易限位銷4移出,然后拿下水平定位銷3,將拉移座2移動到需要位置后再次安裝水平定位銷3和簡易限位銷4進行限位即可。 圖5為拉移座組件安裝局部視圖,拉移座2在推移橫梁1水平導軌7上移動到位后,利用兩個水平定位銷3插入水平定位銷孔6中,水平定位銷3上面焊接有定位板9,將定位板9與拉移座定位銷8聯接,最后利用兩個簡易限位銷4安裝在拉移座定位銷8上,并將兩個簡易限位銷4的拉環向下拉下,阻止水平定位銷3的脫落。 刮板輸送機推移裝置技術原理是: 傳統推移裝置中的推移座為豎銷定位,而豎銷上下插拔必須預留出豎銷的插拔空間,本技術中的推移裝置采用水平銷定位,這就可以將豎銷的插拔空間節省出來,即使拉移座位于傳動裝置的下方,仍可以將拉移座方便的取出與定位;拉移座與推移橫梁的結構類似于梯形槽的結構,拉移座可以方便的在推移橫梁的導軌上水平移動,方便推移點的更換。 本領域技術人員應理解,以上實施例僅是示例性實施例,在不背離本技術的精神和范圍的情況下,可以進行多種變化、替換以及改變。 技術特征: 1.刮板輸送機推移裝置,其特征在于:包括推移橫梁(1)、拉移座(2)和定位銷組件,所述推移橫梁(1)上設置有水平導軌(7),所述拉移座(2)上設置有卡槽(5),所述水平導軌(7)和卡槽(5)配合使拉移座(2)能夠沿水平導軌(7)滑動; 所述定位銷組件包括水平定位銷(3)、水平定位銷孔(6)、拉移座定位銷(8)和定位板(9);其中:水平定位銷孔(6)有多個,均開設在水平導軌(7)下端面;每個拉移座(2)的兩個側耳下端分別設置有一個豎直向下的拉移座定位銷(8);所述水平定位銷(3)與定位板(9)固定連接,定位板(9)上開設有孔,定位板(9)通過該孔與拉移座定位銷(8)連接的同時,水平定位銷(3)能夠插入水平定位銷孔(6)中;所述定位銷組件還包括用于防止水平定位銷(3)脫落的限位件。 2.根據實用要求1所述的刮板輸送機推移裝置,其特征在于:所述水平導軌(7)為橫斷面倒T形的長導軌,所述水平導軌(7)與推移橫梁(1)固定連接;所述卡槽(5)固定設置在拉移座(2)的上端。 3.根據實用要求1所述的刮板輸送機推移裝置,其特征在于:所述限位件為設置在拉移座定位銷(8)上的簡易限位銷(4)。 技術總結 本技術涉及一種礦井刮板輸送機推移裝置,屬煤礦井下運輸設備的零部件的技術領域;主要結構由推移橫梁、推移座、水平定位銷、簡易限位銷組成;本技術中的推移裝置采用水平銷定位,拉移座與推移橫梁的結構類似于梯形槽的結構,拉移座可以方便的在推移橫梁的導軌上水平移動,在推移橫梁上設置水平銷定位孔,利用水平銷將拉移座與推移橫梁固定,并用簡易限位銷拉環把水平銷鎖住,整個過程實現了拉移座、銷軸的簡單快速定位及限位,提高了采煤過程中更換機頭尾推移點的效率,最終提高生產效率。






