技術知識
您的位置:天太輸送機廠家 > 技術知識
多節螺旋輸送機連接件技術內容及制作要求
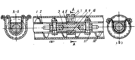
背景技術: 本技術涉及一種多節螺旋輸送機連接件。目前現有的螺旋輸送機的結構部件多,尤其是對于多節螺旋輸送機的連接,如:每節之間采用螺釘結構連接在一起,若在工作過程中,當其中某一節出現損壞或故障,就需要一節節的拆除,最后再將損壞或有故障的螺旋輸送機節取下,再就是安裝時,要將螺釘穿入螺釘孔內,由于四個螺釘孔很難同軸對準,給安裝帶來困難。 技術內容 本技術的目的是提供一種能夠快速、便捷、拆卸安裝的多節螺旋輸送機連接件。本技術的目的是通過以下技術方案實現的:本技術的特點在于:由連接套、連接軸、連接件A和連接件B構成,所述的連接套內壁與連接軸外形相同,連接件A和連接件B各為半圓殼狀。上述的連接套內壁與連接軸外形為幾何多邊形。上述的連接套內壁和連接軸為六邊形。上述的連接套內壁為花鍵套,連接軸為花鍵軸。本技術解決了多節螺旋輸送機連接及拆卸麻煩困難的問題,安裝或拆卸只需卸下緊定螺釘,就能將螺旋輸送機分離拆下,尤其是在更換拆卸螺旋輸送機時,方便、快捷,大大的提高了螺旋輸送機的維修、拆卸和安裝的工作效率。 圖為本技術的的結構示意圖。 圖示中,I為螺旋輸送機節A,2為連接套,3為連接件A,4為連接軸,5為螺旋輸送機節B,6為連接件B。 具體實施方式 實施例1:參照附圖,本實施例由連接套2、連接軸4、連接件A3和連接件B6構成,所述的連接套2內壁與連接軸4外形相同,連接件A3和連接件B6各為半圓殼狀,所述的連接套2內壁和連接軸為六邊形。實施例2:與實施例1的不同之處在于,所述連接套2內壁為花鍵套連接軸4為花鍵軸。參照附圖,使用時將螺旋輸送機節Al和螺旋輸送機節B5用連接套2、連接軸4、連接件A3和連接件B6連接在一起即可。 實用要求 1.一種多節螺旋輸送機連接件,其特征在于:由連接套、連接軸、連接件A和連接件B構成,所述的連接套內壁與連接軸外形相同,所述的連接件A和連接件B各為半圓殼狀。 2.根據實用要求1所述的多節螺旋輸送機連接件,其特征在于:所述的連接套內壁與連接軸外形為幾何多邊形。 3.根據實用要求1所述的多節螺旋輸送機連接件,其特征在于:所述的連接套內壁為花鍵軸套,連接軸為花鍵軸。 技術摘要 本技術涉及一種多節螺旋輸送機連接件,其特點在于由連接套、連接軸、連接件A和連接件B構成,所述的連接套內壁與連接軸外形相同,連接件A和連接件B各為半圓殼狀。本技術解決了多節螺旋輸送機連接及拆卸麻煩困難的問題,安裝或拆卸只需卸下緊定螺釘,就能將螺旋輸送機分離拆下,尤其是在更換拆卸螺旋輸送機時,方便、快捷,大大的提高了螺旋輸送機的維修、拆卸和安裝的工作效率。







